1中共中央政治局召开会议 ...
22026年我国房地产市场...
3超700款生成式人工智能...
4央行连续加量续作MLF ...
5事关网售产品CCC认证资...
6公安部通报打击金融领域“...
7“以秋补夏”精准调度 粮...
8绿电跨区错峰交易,让时差...
9新公布爱泼斯坦案文件涉特...
10银行车企年末冲业绩 “0...
集成电路价格看...
集成电路价格看“涨”声起...
A股四大突发!...
A股四大突发!美国加征中...
新规威力显现!...
新规威力显现!8家IPO...
更加有效保护投...
更加有效保护投资者 促进...
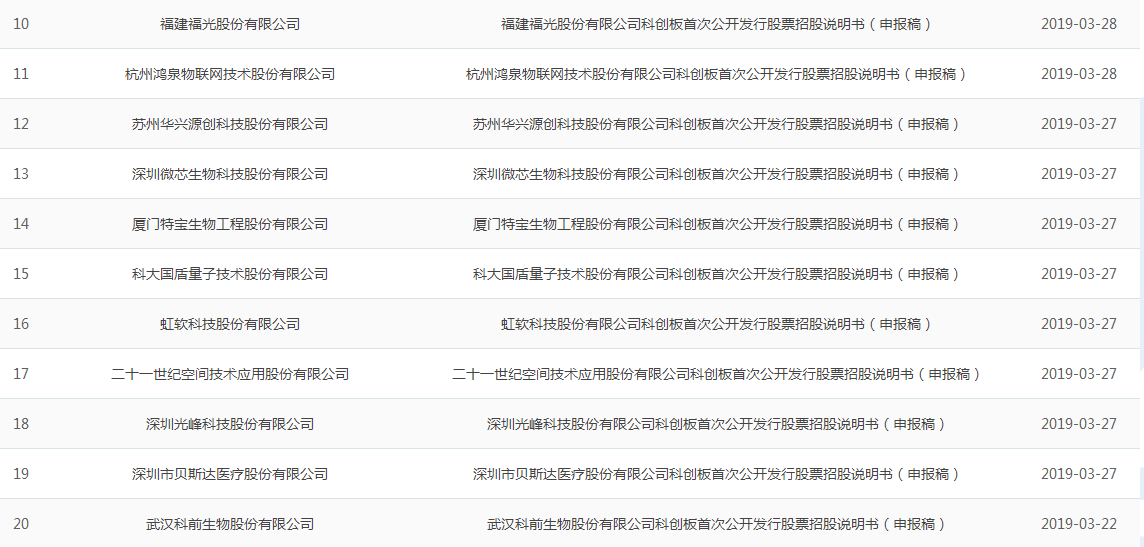
3月29日科创板新增受理企业9家 总数达28家
来源:每日财讯网 作者:贺娜 发布时间:2019-03-29
3月29日科创板新增受理企业9家,总数达28家,名单如下:
责任编辑:《每日财讯网》编辑
上一篇:28家科创板受理企业扫描:营收最高差152倍 广东乐开了花
下一篇:没有了!
〖免责申明〗本文仅代表作者个人观点,其图片及内容版权仅归原所有者所有。如对该内容主张权益请来函或邮件告之,本网将迅速采取措施,否则与之相关的纠纷本网不承担任何责任。
评论框
客服电话:010-57135130 传真:010-57135130 邮箱:mrcxnews@163.com
本站郑重声明:每日财讯网所发布的文章、数据仅供参考,本网不对信息的完整性、及时性负任何责任,投资有风险,选择需谨慎。
Copyright Up to 2022 mrcxnews.com All Rights Reserved. 《中华人民共和国增值电信业务经营许可证》编号:京B2-20171131号 【京ICP备16069224号】