
美邦药业IPO信披质量堪忧:疑似修改问询问题 公司多类诉讼未披露
来源:中宏网 作者:《每日财讯网》编辑 发布时间:2021-08-04
主营杀菌剂、杀虫剂等产品的农药制剂供应商陕西美邦药业集团股份有限公司(以下称“美邦药业”)将于近日上会。本网记者发现,美邦药业或存在为避开环保事故的披露,而修改问询问题的情形,而与公司所述不存在“重大环境污染事件”相对应的是,公司历史上曾发生多次污染超标排放事项。此外,中国裁判文书网显示,美邦药业报告期内还存在员工职务犯罪、公司与员工劳动纠纷、公司专利侵权及公司产品造成农户种植减产等多起诉讼。
公司或修改问询问题,不披露环保事故
本网记者发现,美邦药业“首次公开发行股票申请文件反馈意见”显示,公司及保荐机构被要求就报告期内是否发生“环保事故”并受到“行政处罚”进行核查并发表意见。

(图片来源:陕西美邦药业集团股份有限公司首次公开发行股票申请文件反馈意见)
而公司及其保荐机构光大证券股份有限公司在美邦药业的招股书中回复称,公司报告期内未发生“重大环境污染”,以及未受到“重大行政处罚”。


(图片来源:公司招股说明书)
根据《公开发行证券的公司信息披露内容与格式准则第1号》第六十八条规定,拟发行公司需要披露近三年内的违法违规行为(不仅限于重大违法违规行为)的相关情况,包括受到相关处罚的时间、事由、处罚内容、整改情况、处罚机关的认定等。根据监管要求,公司的保荐机构及服务律所也需要分析相关事项对发行人生产经营的影响及该事项是否构成重大违法违规。
很显然,美邦药业被问询的“环保事故”“行政处罚”与其所回答的“重大环境污染事件”“重大行政处罚”无论是在语义上还是法律规定上均有所区别。以及无论是从信披的要求还是监管的问询来看,美邦药业都应据此进行相关披露,而公司却因修改了问询问题的“限定范围”,避开了对相关事项的回答。
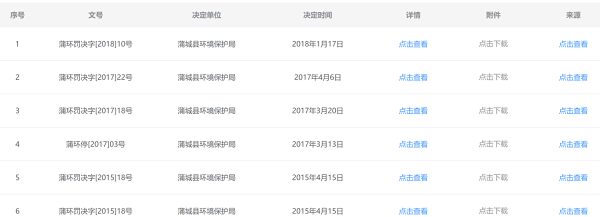
事实上,本网记者发现,据广州绿网环境保护中心统计,截至2019年11月20日,美邦药业公司前身陕西美邦农药有限公司曾分别于2017年3月20日、2017年4月6日、2018年1月17日被蒲城县环境保护局出具了7项处罚决定书,涉及公司环境违法事项7例。其中,违法事项包括美邦药业的废水排放污染超标1.5倍、1.5倍、4.76倍,以及其未经环保审批擅自开工建设粉剂乳油扩建项目等。行政处罚结果包括限期令公司整改停止建设未获批项目、治理超标排放等,涉及罚款金额3千元到2万元不等。

(图片来源:绿网)

(图片来源:蒲城县环境保护局行政处罚决定书)
很显然,从蒲城县环境保护局出具的《行政处罚决定书》来看,美邦药业2017年1月1日至今的环保违法行为至少存在4项,其中违反环保标准、超标排放3项。
在此情况下,渭南市生态环境局蒲城分局的证明显示美邦药业在此期间符合相关环境标准要求的原因则值得追问。或者说,为何渭南市生态环境局蒲城分局的证明与蒲城县环境保护局的处罚原因及结果相矛盾?对此,本网记者曾向美邦药业进行求证,但截至发稿未获回复。
员工职务犯罪、公司专利侵权等较多诉讼未披露
此外,本网记者查询中国裁判文书网发现,美邦药业及子公司报告期内存在较多诉讼。案件类型主要包括公司员工职务犯罪、公司与员工劳动纠纷、公司专利侵权及公司产品造成农户种植减产等。
招股书显示,报告期内,美邦药业全资子公司陕西韦尔奇作物保护有限公司(现“陕西亿田丰作物科技有限公司”)河北区域经理韩某利用职务之便,以前述公司名义收取的9万元冬储款并占为己有,2018年9月26日陕西省蒲城县人民法院判决其构成职务侵占罪。

(图片来源:陕西省蒲城县人民法院刑事判决书)
据公司披露,美邦药业目前的销售区域遍布全国,其中华东、西南、华南地区各期的销售占比平均在60%以上,其他地区的销售占比各期在5%~9.5%不等。其中,公司华北地区的销售占比报告期各期分别为7.06%、7.08%、6.08%,销售占比并不低。
其二、美邦药业子公司报告期内还存在较多原因类似的劳动纠纷案件,例如公司子公司陕西农盛和作物科学有限公司与戚钟垒劳动争议一案(一审结果判定公司子公司执行支付年终奖等)、农盛和与熊永前劳动争议一案(一审判定公司子公司支付年终奖)等。
其三、美邦药业报告期内还存在侵害发明专利的情形。《陕西美邦农药有限公司侵害发明专利权纠纷管辖民事裁定书》显示,公司曾对同行可比公司的发明专利造成侵害。

(图片来源:陕西美邦农药有限公司侵害发明专利权纠纷管辖民事裁定书)
其四、美邦药业全资子公司汤普森生产销售的农药造成农户种植的香梨减产,公司子公司作为被告之一,与其他单位共同完成农户损失超过8万元。
值得注意的是,根据美邦药业招股书上会稿中所披露的信息,目前除了第4项,前述3项/类诉讼,公司均未进行披露。
而根据《上市规则》规定:上市公司发生的重大诉讼、仲裁事项属于“能对公司生产经营、控制权稳定、公司股票及其衍生品种交易价格或者投资决策产生较大影响的”应当及时披露相关情况。
至于美邦药业员工职务犯罪、公司与员工多次发生劳动纠纷是否涉及内控风险,以及公司侵害专利详情如何、是否会对公司的生产经营产生较大影响,本网将持续保持关注。
责任编辑:《每日财讯网》编辑
下一篇:没有了!

〖免责申明〗本文仅代表作者个人观点,其图片及内容版权仅归原所有者所有。如对该内容主张权益请来函或邮件告之,本网将迅速采取措施,否则与之相关的纠纷本网不承担任何责任。